手动衬氟胶阀

|
遵循规范 |
STANDARD |
|
设计与制造 Design |
GB 12238 |
|
结构长度 Face to face |
GB 12221 (短一长系列) |
|
法兰尺寸 End flange |
JB78/JB79 (GB.HG.SH) |
|
压力试验 Test |
GB/T 13927 |
|
标志 Symbol |
GB 12220 |
|
供货 Supply |
GB/T 12252 |
|
手动 |
DA 41F(半衬) |
蜗 轮
转 动 |
DA 341F(半衬) |
|
DA 41F3 (全衬里) |
DA 341F3 (全衬里) | ||
|
DA 41F46(全衬里) |
DA341F46(全衬里) | ||
|
气动 |
DA 641F(半衬) |
电动 |
DA 941F(半衬) |
|
DA 641F3 (全衬里) |
DA 941F3 (全衬里) | ||
|
DA641F46(全衬里) |
DA9 41F46(全衬里) |
|
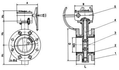
序号
NO |
零件名称
Name |
灰铸铁 |
铸钢 |
不锈刚 |
超低碳不锈钢 | ||
|
Z |
C |
P |
R |
PL |
RL | ||
|
1 |
阀体 |
HT250 |
WCB |
CF8 |
CF8M |
CF3 |
CF3M |
|
2 |
蝶板轴/销 |
1Cr13 |
2Cr13 |
1Cr18Ni9Ti |
1Cr18Ni12Mo2Ti |
00Cr18Ni10 |
00Cr17Ni14Mo2 |
|
3 |
衬里层/阀座 |
PCTFE(F3) FEP(F46) PFA (可溶性聚四氟乙烯) | |||||
|
4 |
蝶板/填料压盖 |
WCB |
WCB |
CF8 |
CF8M |
CF3 |
CF3M |
|
5 |
支架 |
WCB(碳钢) |
CF8(不锈钢) | ||||
|
6 |
填料 |
PTFE (F4) |
PTFE (F4) |
PTFE (F4) | |||
|
7 |
蝶栓 |
35 |
35 |
1Cr17Ni2 |
1Cr17Ni2 |
1Cr18Ni9 |
1Cr18Ni9 |
|
8 |
螺母 |
45 |
45 |
0Cr18Ni9 |
0Cr18Ni9 |
0Cr18Ni9 |
0Cr18Ni9 |
|
公称通径 |
标准值 |
参考值 | |||||||||
|
DN (mm) |
NPS (inch) |
L |
D |
D1 |
D2 |
f |
b |
Z-φd |
D0 |
H |
W(kg) |
|
PN0.6(MPa) | |||||||||||
|
40 |
11/2 |
106 |
130 |
100 |
80 |
3 |
16 |
4-φ14 |
160 |
140 |
10 |
|
50 |
2 |
108 |
140 |
110 |
90 |
3 |
16 |
4-φ14 |
200 |
160 |
12 |
|
65 |
21/2 |
112 |
160 |
130 |
110 |
3 |
16 |
4-φ14 |
250 |
160 |
13 |
|
80 |
3 |
114 |
185 |
150 |
125 |
3 |
18 |
4-φ18 |
250 |
170 |
14 |
|
100 |
4 |
127 |
205 |
170 |
145 |
3 |
18 |
4-φ18 |
300 |
180 |
16 |
|
125 |
5 |
140 |
235 |
200 |
175 |
3 |
20 |
8-φ18 |
300 |
275 |
18 |
|
150 |
6 |
140 |
260 |
225 |
200 |
3 |
20 |
8-φ18 |
200 |
295 |
38 |
|
200 |
8 |
152 |
315 |
280 |
255 |
3 |
22 |
8-φ18 |
200 |
320 |
74 |
|
250 |
10 |
250 |
470 |
335 |
310 |
3 |
24 |
12-φ18 |
240 |
385 |
105 |
|
300 |
12 |
270 |
435 |
375 |
362 |
4 |
24 |
12-φ23 |
240 |
390 |
142 |
|
350 |
14 |
290 |
485 |
445 |
412 |
4 |
26 |
16-φ25 |
240 |
460 |
179 |
|
400 |
16 |
310 |
535 |
495 |
462 |
4 |
28 |
16-φ23 |
280 |
510 |
220 |
|
450 |
18 |
330 |
590 |
550 |
518 |
4 |
28 |
16-φ23 |
280 |
540 |
268 |
|
500 |
20 |
350 |
640 |
600 |
568 |
4 |
30 |
16-φ23 |
320 |
570 |
378 |
|
600 |
24 |
390 |
755 |
705 |
670 |
5 |
30 |
20-φ25 |
320 |
660 |
608 |
|
700 |
28 |
430 |
860 |
810 |
775 |
5 |
32 |
24-φ25 |
360 |
710 |
1050 |
|
800 |
32 |
470 |
975 |
920 |
880 |
5 |
34 |
24-φ30 |
360 |
780 |
1320 |
|
900 |
36 |
510 |
1075 |
1020 |
980 |
5 |
36 |
24-φ30 |
380 |
885 |
1795 |
|
1000 |
40 |
550 |
1175 |
1120 |
1080 |
5 |
36 |
28-φ30 |
400 |
990 |
1900 |
|
公称通径 |
标准值 |
参考值 | |||||||||
|
DN (mm) |
NPS (inch) |
L |
D |
D1 |
D2 |
f |
b |
Z-φd |
D0 |
H |
W(kg) |
|
PN0.6(MPa) | |||||||||||
|
40 |
11/2 |
106 |
145 |
110 |
85 |
3 |
18 |
4-φ18 |
160 |
140 |
10 |
|
50 |
2 |
108 |
160 |
125 |
100 |
3 |
20 |
4-φ18 |
200 |
160 |
12 |
|
65 |
21/2 |
112 |
180 |
145 |
120 |
3 |
20 |
4-φ18 |
250 |
160 |
13 |
|
80 |
3 |
114 |
195 |
160 |
135 |
3 |
22 |
4-φ18 |
250 |
170 |
14 |
|
100 |
4 |
127 |
215 |
180 |
155 |
3 |
22 |
8-φ18 |
300 |
180 |
16 |
|
125 |
5 |
140 |
245 |
210 |
185 |
3 |
24 |
8-φ18 |
300 |
275 |
18 |
|
150 |
6 |
140 |
280 |
240 |
210 |
3 |
24 |
8-φ23 |
200 |
295 |
38 |
|
200 |
8 |
152 |
335 |
295 |
265 |
3 |
26 |
8-φ23 |
200 |
320 |
74 |
|
250 |
10 |
250 |
390 |
350 |
320 |
3 |
28 |
12-φ23 |
240 |
385 |
105 |
|
300 |
12 |
270 |
440 |
400 |
368 |
4 |
28 |
12-φ23 |
240 |
390 |
142 |
|
350 |
14 |
290 |
500 |
460 |
428 |
4 |
30 |
16-φ23 |
280 |
460 |
179 |
|
400 |
16 |
310 |
565 |
515 |
482 |
4 |
32 |
16-φ25 |
280 |
510 |
220 |
|
450 |
18 |
330 |
615 |
565 |
532 |
4 |
32 |
20-φ25 |
320 |
540 |
268 |
|
500 |
20 |
350 |
670 |
620 |
585 |
4 |
34 |
20-φ30 |
320 |
570 |
378 |
|
600 |
24 |
390 |
780 |
725 |
685 |
5 |
36 |
20-φ30 |
360 |
660 |
608 |
|
700 |
28 |
430 |
895 |
840 |
800 |
5 |
40 |
24-φ30 |
360 |
710 |
1050 |
|
800 |
32 |
470 |
1010 |
950 |
905 |
5 |
44 |
24-φ30 |
360 |
780 |
1320 |
|
900 |
36 |
510 |
1110 |
1050 |
1005 |
5 |
46 |
28-φ34 |
380 |
885 |
1795 |
|
1000 |
40 |
550 |
1220 |
1160 |
1115 |
5 |
50 |
28-φ34 |
400 |
990 |
1900 |
|
公称通径 |
标准值 |
参考值 | |||||||||
|
DN (mm) |
NPS (inch) |
L |
D |
D1 |
D2 |
f |
b |
Z-φd |
D0 |
H |
W(kg) |
|
PN1.6(MPa) | |||||||||||
|
40 |
11/2 |
106 |
145 |
110 |
85 |
3 |
18 |
4-φ18 |
160 |
140 |
10 |
|
50 |
2 |
108 |
160 |
125 |
100 |
3 |
20 |
4-φ18 |
200 |
160 |
12 |
|
65 |
21/2 |
112 |
180 |
145 |
120 |
3 |
20 |
4-φ18 |
250 |
160 |
13 |
|
80 |
3 |
114 |
195 |
160 |
135 |
3 |
22 |
8-φ18 |
260 |
170 |
14 |
|
100 |
4 |
127 |
215 |
180 |
155 |
3 |
24 |
8-φ18 |
300 |
180 |
16 |
|
125 |
5 |
140 |
245 |
210 |
185 |
3 |
26 |
8-φ18 |
300 |
275 |
18 |
|
150 |
6 |
140 |
280 |
240 |
210 |
3 |
28 |
8-φ23 |
200 |
295 |
42 |
|
200 |
8 |
152 |
335 |
295 |
265 |
3 |
30 |
12-φ23 |
200 |
320 |
78 |
|
250 |
10 |
250 |
405 |
355 |
320 |
3 |
32 |
12-φ25 |
240 |
385 |
120 |
|
300 |
12 |
270 |
460 |
410 |
375 |
4 |
34 |
12-φ25 |
240 |
390 |
145 |
|
350 |
14 |
290 |
520 |
470 |
435 |
4 |
38 |
16-φ25 |
240 |
460 |
202 |
|
400 |
16 |
310 |
580 |
525 |
485 |
4 |
40 |
16-φ30 |
280 |
510 |
235 |
|
450 |
18 |
330 |
640 |
585 |
545 |
4 |
44 |
20-φ30 |
280 |
540 |
368 |
|
500 |
20 |
350 |
705 |
650 |
608 |
4 |
46 |
20-φ34 |
320 |
570 |
420 |
|
600 |
24 |
390 |
755 |
770 |
718 |
5 |
54 |
24-φ41 |
320 |
660 |
750 |
|
700 |
28 |
430 |
840 |
840 |
788 |
5 |
54 |
24-φ41 |
360 |
710 |
1028 |
|
800 |
32 |
470 |
910 |
950 |
898 |
5 |
54 |
24-φ41 |
380 |
780 |
1690 |
|
900 |
36 |
510 |
1120 |
1050 |
998 |
5 |
54 |
28-φ41 |
400 |
885 |
1815 |
|
1000 |
40 |
550 |
1255 |
1170 |
1110 |
5 |
60 |
28-φ48 |
500 |
990 |
2050 |
|
公称通径 |
标准值 |
参考值 | |||||||||
|
DN (mm) |
NPS (inch) |
L |
D |
D1 |
D2 |
f |
b |
Z-φd |
D0 |
H |
W(kg) |
|
PN2.5(MPa) | |||||||||||
|
40 |
11/2 |
106 |
145 |
110 |
85 |
3 |
18 |
4-φ18 |
200 |
140 |
11 |
|
50 |
2 |
108 |
160 |
125 |
100 |
3 |
20 |
4-φ18 |
200 |
160 |
13 |
|
65 |
21/2 |
112 |
180 |
145 |
120 |
3 |
22 |
8-φ18 |
250 |
160 |
14 |
|
80 |
3 |
114 |
195 |
160 |
135 |
3 |
22 |
8-φ18 |
250 |
170 |
16 |
|
,
100 |
4 |
127 |
215 |
180 |
155 |
3 |
24 |
8-φ23 |
300 |
180 |
18 |
|
125 |
5 |
140 |
245 |
210 |
185 |
3 |
28 |
8-φ25 |
300 |
275 |
20 |
|
150 |
6 |
140 |
280 |
240 |
210 |
3 |
30 |
8-φ25 |
240 |
295 |
48 |
|
200 |
8 |
152 |
335 |
295 |
265 |
3 |
34 |
12-φ25 |
240 |
320 |
88 |
|
250 |
10 |
250 |
405 |
355 |
320 |
3 |
36 |
12-φ30 |
280 |
385 |
145 |
|
300 |
12 |
270 |
460 |
410 |
375 |
4 |
40 |
16-φ30 |
280 |
390 |
157 |
|
350 |
14 |
290 |
520 |
470 |
435 |
4 |
44 |
16-φ34 |
320 |
460 |
222 |
|
400 |
16 |
310 |
580 |
525 |
485 |
4 |
48 |
16-φ34 |
320 |
510 |
353 |
|
450 |
18 |
330 |
640 |
585 |
545 |
4 |
50 |
20-φ34 |
360 |
540 |
405 |
|
500 |
20 |
350 |
705 |
650 |
608 |
4 |
52 |
20-φ41 |
360 |
570 |
448 |
|
600 |
24 |
390 |
840 |
770 |
718 |
5 |
56 |
24-φ41 |
380 |
660 |
795 |